6月15日,新视为VR发现苹果公司向美国专利和商标局(USPTO)提交了一份新的与VR有关的(估计是)专利申请,其正式名称是 “HMD(带调节机制的头戴式显示器)”, 似乎是一种通过电动调节机制将耳机快速安装到最佳位置的技术。

事实上,这不是苹果公司申请的第一个头带调节专利——2021年3月,一项名为 “具有张力调节功能的头戴式设备 ”的专利在美国专利商标局公布。

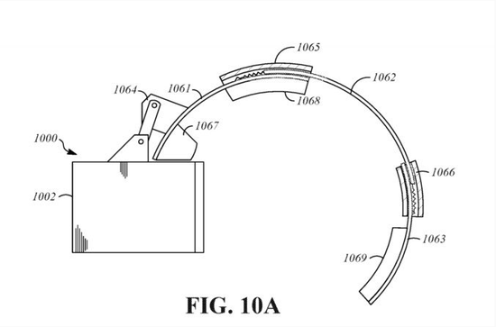
据申请显示,该调整机构安装在耳机带的后面,接收来自反馈部件的信号,以根据用户的头部调整耳机带。 它包含两个滑动关节,由一个连接的电机移动。截至2021年6月,大多数VR头显需要手动调整头带位置。 如果这项技术被投入实际使用,并实现自动调整,这种麻烦就会减少,便利性也会大大提升。

长期以来,一直有传言称苹果正在开发一款VR头显。 根据一些媒体报道的信息,该显示器是 “双8K”,价格约为3000美元(约31万日元)。 发布日期定在2022年。